Visit BannerWitcoff.com
U.S. Patent No. 8,591,332: Video game video editor
Issued Nov. 26, 2013, to Activision Publishing, Inc.




Summary:

The ‘332 patent describes a video editor that displays game play clips created while the player is in game. The editor compiles game play video, records information about the clips, and can create compilations based on this information. The editor can also associate particular audio with different video clips, creating an audiovisual presentation. It’s also capable of video overlay editing and music editing. The editing software is used used on the game system, rather than on a separate computer or device.


Abstract:

A video editor for a video game is discussed. The video editor manipulates information of video game play to provide videos of game play and in some embodiments scoring of videos.


Illustrative Claim:

1. A method of providing audiovisual presentations for a video game, comprising:
during game play, saving game state information representative of a set of video clips, each video clip corresponding to a series of images generated during game play;
generating a video compilation using selected video clips from the set of video clips;
modifying the video compilation based on inputs from a video game controller; and
adding at least some audio with the video compilation to thereby form an audiovisual presentation, the at least some audio being associated with events included in the video compilation.
U.S. Patent Not. 8,635,163: System and method for facilitating a video game exchange
Issued Jan. 21, 2014, to Green Man Gaming Limited





Summary:

The ‘163 patent relies on a network and server to allow the resale of digital downloads of games. The system retains records of which games are owned on which devices. Additionally, the system keeps track of game prices for both new and “used” versions of a game, where a “used” version is a digital download being returned for credit towards other purchases. By keeping records of what is owned by whom, the system ensures that a game that is returned for credit does not remain in a player’s inventory after resale. The system focuses exclusively on the sale and resale of games on authorized devices.


Abstract:

A system and method for facilitating the exchange of electronic video games. A video game exchange server provides interacts with a gaming device to permit a game user to buy and load a video game onto the gaming device, to play the game on the gaming device and to return the “used” game for credits that may be used to purchase a new or used game. The game exchange server assigns a price to each new game and used game in its inventory. The game exchange server also assigns a value to each game currently stored on the gaming device. The game price and the game value may decline as a function of time or based on other factors (e.g., a new release). The game exchange server also validates that a video game stored on a gaming device is authorized.


Illustrative Claim:

1. A system for exchanging video games comprising:
a network comprising a plurality of connected computers;
a video game exchange server;
a gaming device comprising a first processor in communication with the videoexchange server via the network, wherein the first processor is coupled to a memory storing executable instructions that when executed by the first processor cause the first processor to perform operations comprising:
downloading a client application from the video game exchange server;
sending, using the client application, a request to the game exchange server to establish an account for the gaming device; and
sending to the game exchange server using the client application an offer to exchange a digital game for which the gaming device has acquired use rights for a game for which gaming device has not acquired use right, wherein the offer to exchange comprises a first unique key assigned to the game offered for exchange;
wherein the video game exchange server comprises a second processor and wherein the second processor is coupled to a memory storing executable instructions that when executed by the second processor causes the second processor to perform operations comprising:
downloading a client application to the gaming device in response to the request from the client application;
establishing an account for the gaming device in response to the request from the client application;
receiving from the gaming device via the client application the offer to exchange the digital game;
confirming from the first unique key that the gaming device has acquired use rights to the digital game offered for exchange;
accepting the offer to exchange the digital game for which the use rights have been confirmed;
storing a second unique key associated with the requested game in a datastore;
retiring the first unique key of the digital game subject to the accepted offer from the datastore.

U.S. Patent No. 8,491,394: Squad vs. squad video game
Issued Jul. 23, 2013, to Microsoft Corporation




Summary:

The ‘394 patent applies to shooter video games, which are focused around competing squads. The patent covers both games in which a single player controls each squad and more than one player controls each squad. The game receives inputs from the controlling players about squad actions and communicates these actions to other systems in the game. The patent also covers the player’s ability to join or leave his or her squad at any point during gameplay without ending the game.


Abstract:

A squad versus squad shooter video game receives input from one or more players via their respective use of controllers in communication with one or more console-based video game systems. The input from each controller is interpreted as a command to a squad in a competition against one or more other squads that are respectively commanded by one or more players via their respective use of controllers. Each squad includes a plurality of characters. Each player is assigned to one of the squads. Actions of each character in the video game are a function of commands given to that character by one of the players. Players can join or exit their assigned squad during game play.


Illustrative Claim:

1. A method comprising:
facilitating play of a game title by one or more players commanding, via their respective use of controllers, a squad in a competition against one or more other squads that are respectively commanded by one or more players via their respective use of controllers, wherein:
each said squad includes a plurality of characters;
each said player is assigned to one said squad;
each said squad has at least one said player assigned thereto; and
action of each said character in the play of the game title is a function of a command given to that character by one said player;
detecting, while any said player is playing the game title, a join condition indicating that a new player would like to join in playing the game title; and
in response to the join condition, assigning a new squad to the new player when it is determined that the new player is to form the new squad.

U.S. Patent No. 8,764,555: Video game application state synchronization across multiple devices
Issued Jul. 1, 2014, to Nextbit Systems Inc.



Summary:

The ‘555 patent deals with the issue of synchronized gaming. It covers a method that initially runs a game on one device, then, after detecting another device within a certain proximity and having the same game installed, can transfer the current place in game to a secondary device. The saved game data is transferred between devices, allowing a player to pick up where she left off on any synchronized  device.


Abstract:

Techniques for a method for automatically synchronizing application state of a video game across multiple devices are disclosed herein. The method includes running an instance of the video game application at a first electronic device, detecting a presence of a second electronic device based on a proximity of the second electronic device to the first electronic device, identifying an installation of another instance of the video game application on the second electronic device, saving a current state of play of the instance of the video game application running on the first electronic device and transmitting the application state data to the second electronic device. The application state data of the video game application enables another instance of the video game application to resume the current state of play of the video game application at the second electronic device.


Illustrative Claim:

1. A computer-implemented method comprising:
running an instance of a video game application at a first electronic device, wherein the first electronic device belongs to a group of electronic devices associated with a user;
detecting a presence of a second electronic device based on a proximity of the second electronic device to the first electronic device, the second electronic device belonging to the group of electronic devices;
identifying an installation of another instance of the video game application or another video game application similar to the video game application on the second electronic device;
saving a current state of play of the instance of the video game application running on the first electronic device, the saving of the current state of play being performed utilizing an in-game save feature included within the videogame application, wherein the in-game save feature saves an application state data representing the current state of play of the instance of the videogame application running on the first electronic device; and
transmitting the application state data to the second electronic device, wherein the application state data of the video game application enables another instance of the video game application to resume the current state of play of the video game application at the second electronic device.

We are happy to announce that the Patent Arcade Patent Search app is now available for iOS. This handy tool lets you search and review patents on the go, displaying patents in both text and PDF formats.  BOTH formats include drawings, too!

Have you invented something? Do you have a great idea for a patent? Want to check to see if someone else has already come up with the same idea? Use Patent Arcade's free Patent Search tool to search the records of the United States Patent & Trademark Office.

The Patent Arcade Patent Search app is an easy to use mobile searching resource. Just type in a patent number or a few keywords and see the results in seconds.  Search results are provided by Google, so international patents are available as well.

Two ways to search: 1) type in a PATENT NUMBER or published application number, and review the patent in easily readable form on your iOS device; 2) search FULL TEXT by entering any search term you want and instantly see the results. PDFs of the original documents are also available.

As an added bonus, quick access to the Patent Arcade legal blog is also included within the app.  No legal services are provided. App is for informational use only.

Download it today!


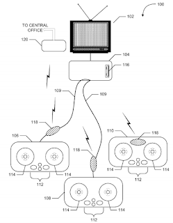
U.S. Patent No. 8,430,752: Methods and apparatus to meter video game play
Issued Apr. 30, 2013, to The Nielsen Company (US), LLC



Summary:

The ‘752 patent describes a device which can be attached to a controller to track data about controller use, primarily controller  movement. Movement data can include direction as well as magnitude. In addition to the tracking device, the patent describes a metering or recording device that maintains a record of the controller data. In addition to movement, the device might also track whether the device is on, whether the battery needs to be replaced, and the use of a transmitter.


Abstract:

Methods and apparatus to meter video game play are described. An example apparatus to meter video game play includes a tag to be attached to a video game controller, the tag having a sensor to detect a user interaction with the video game controller. The apparatus also includes a meter to receive information reflecting the user interaction.


Illustrative Claim:

1. An apparatus to meter video game play, comprising:
a tag adapted to be attached to a video game controller, the video game controller adapted to interact with a video game system capable of executing a plurality of video games, the tag having a sensor adapted to detect motion data related to movement of the video game controller; and
a meter adapted to receive the motion data from the sensor without affecting operation of the video game system, the meter adapted to attribute the motion data to a user interaction with the video game controller, the meter adapted to detect media identifying information presented in an environment including the video game controller to identify which of the plurality of videogames is being played via the video game controller, and adapted to combine the media identifying information with the motion data received from the sensor.

< Previous     Home     Next >

Get the Patent Arcade App

Get the Patent Arcade App
Available now for iOS

Search This Blog


Recognition

Buy your copy today!

Buy your copy today!
ABA Legal Guide, 2d Ed.

Ross Dannenberg

Scott Kelly

Scott Kelly

Labels

Archives

Blogroll

Data Analytics

Copyright ©2005–present Ross Dannenberg. All rights reserved.
Visit BannerWitcoff.com